Woodson dual cathedral 18

Discussion in 'Boat Design' started by trishptw, Apr 29, 2013.

  1. bajansailor
    Joined: Oct 2007
    Posts: 1,931
    Likes: 630, Points: 113, Legacy Rep: 37
    Location: Barbados

    bajansailor Marine Surveyor

    Michael, thank you for posting the photos of your boat - she looks very nice. Although I would agree that the colour scheme could be improved......

    I just realised that the original Photobucket photos I posted from my catalogue don't seem to be working any more, and I have cottoned on that I now need to pay a subscription in order to post the photos on here.
    So I shall post the individual photos instead, and hope that this works.

    Woodson 18 P 1.jpg Woodson 18 P 2.jpg Woodson 18 P 3.jpg Woodson 18 P 4.jpg Woodson Price List.jpg Woodson 15 Vagabond.jpg Woodson 15 Reef Runner.jpg
     
  2. cryan
    Joined: Jul 2017
    Posts: 2
    Likes: 0, Points: 1
    Location: Cape Cod

    cryan New Member

    Hey everyone...Michael, I have nearly the same boat as you - a 15 foot 1966 Woodson Dual Cathedral. Purchased it two years ago and have been loving her, having fun out here on Cape Cod.

    I restored mine earlier this Spring. Remarkably, it has a 1973 Johnson 50HP that is still running like a champ. The boat handles well at sea, with both the stability of a tri-hull and some mods to the original dual cathedral design that Dick Cole and Woody Woodson added in the mid 1960's to help it cut the waves a bit better in rougher seas. (See the blurb I've pasted below about the history). I've taken her 3-5 foot seas with a small craft advisory and been fine - obviously I wouldn't take it in anything much rougher than that, but then again there aren't many 15 foot boats I would take in rough seas of any design.

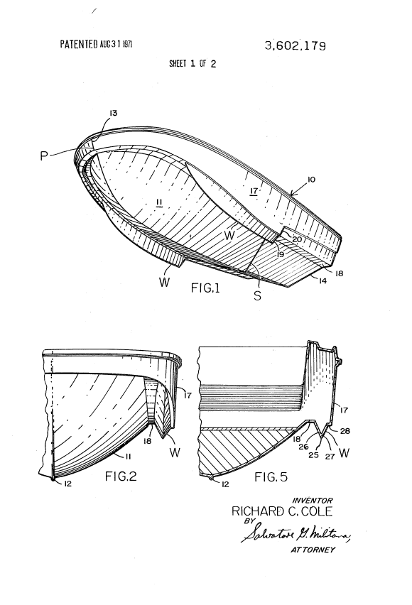
    Woody Woodson and Richard (Dick) Cole were business partners who started Thunderbird Boats together. Cole designed the "dual cathedral" hull - one of the first "three-hull" or "tri-hull" designs to be manufactured, which made the boat very stable and less prone to broaching/capsizing. It was a revolutionary new design at the time, that was a big hit in the early 1960's - at boat shows they would demonstrate how the ride was more stable and less wet. However, the design soon gained a reputation for having a bumpy ride in rougher seas, since the three "bows" of each hull would slam into waves, rather than cut through them like a single hull did.

    So in 1962-63, Cole tweaked the designed to make the two side hulls higher and shorter than the center hull, so the boat could cut through waves better, while still retaining the stability of the tri-hull. The result was a smoother ride in rough seas than the first dual cathedrals. However, by this time there were a lot competitors and copy-cats entering the market with similar hull designs - many of which were designed poorly or hastily and
    had bad manufacturing quality. This lead to the propagation of the belief that the tri-hulls in general were all very bad in rough seas (which was only partially true). Thus the V-hulls began to gain popularity as the better design in the eye of the public.

    Cole seemed to remain firm in his belief that a hybrid of the two designs was the way to go. He kept tweaking his dual cathedral designs throughout the next decade, and his improved dual cathedral designs were what Boston Whaler based their original now infamous "unsinkable" tri-hull boats on in the mid to late 1960's. Woodson boats was essentially a spinoff company of Dick and Woody's first company (Thunderbird Boats), apparently after Thunderbird was sold to new owners (it was founded in Coral Gables, FL, and then moved to Barbados before it eventually went out of business).

    Anyways, attaching some pics of my boat here, before and after.

    IMG_5222.JPG IMG_5240.JPG IMG_5243.JPG IMG_5244.JPG IMG_5247.JPG IMG_5251.JPG IMG_5255.JPG IMG_5292.JPG IMG_5293.JPG IMG_5312.JPG IMG_5351.JPG IMG_5352.JPG
     
  3. Michael Heary
    Joined: Jun 2017
    Posts: 6
    Likes: 0, Points: 1
    Location: Ft lauderdale

    Michael Heary Junior Member

    IMG_1057.JPG IMG_1071.JPG IMG_0923.JPG IMG_1089.JPG IMG_0907.JPG View attachment 134825 View attachment 134823 View attachment 134824 View attachment 134825 View attachment 134826 Hey Cryan love the photos. Yes exact same boat 1966 Dual cathedral hull. I have had her out on the water once since I bought it. The boat is in pretty good shape. I had to learn about outboard motors since I can't afford to pay a mechanic. I didn't realize how much I would enjoy working on an outboard motor. The motor runs well 1981 35hp johnson but it needed General maintenance. An impeller a water pump new fuel lines carburetor cleaning new spark plugs change the gear oil new prop controller cables were not attached to the motor properly so I had to order parts and do it right. The trailer bunks we were not very well placed so I replaced them. And the lights on the trailer were no good so I had to replace them as well. I'm planning on taking her out this weekend I can't wait. I'm need to redo the floor because somebody had put raw plywood down on top of the fiberglass floor and then carpeted it The wood is all rotten and I really don't want carpet. The fiberglass underneath looks good but it's a very thin layer of fiberglass. I'm going to put in all new plywood capsulate the the plywood and fiberglass the floor returning the fiberglass up the side walls maybe 3 inches up to make it watertight. I work on the boat every night after work and on the weekends. Here are some new photos. I am planning on painting the hall a different color kind of like what you did with the three colors looks cool! Later guys View attachment 134827 View attachment 134828 View attachment 134824 View attachment 134824 View attachment 134824 View attachment 134824
     
    Last edited: Aug 1, 2017
  4. Mr Efficiency
    Joined: Oct 2010
    Posts: 9,896
    Likes: 880, Points: 113, Legacy Rep: 702
    Location: Australia

    Mr Efficiency Senior Member

    I don't know whether there are many cathedrals or tri-hulls being made these days, the Hydrofield was an interesting and somewhat successful make in Australia, though I don't think still in production. They were regarded as an able offshore boat with good ride quality, though owners I have spoken to, regarded them as not as good as the best power cats in the same boat length. But they also did not have the twin engine requirement of the cats. Many alterations were made over time, later models had a pronounced step in the centre hull, ventilated by air holes, but all had a high tunnel between the mid and outer hull, which did not really "bottom out" on solid water. In the pics below you can see how the outer sponson was truncated aft, where once it was full-length, the logic of that I never really understood, but presumably would have reduced the turning circle considerably, if that could be regarded as an asset, I doubt it would be that beneficial. Note the apparent "hook" in the truncated version.

    bd5649246795272284715.jpg bp4825421643162271148.jpg
     
  5. mrc0043
    Joined: Dec 2013
    Posts: 3
    Likes: 0, Points: 1, Legacy Rep: 10
    Location: South Florida

    mrc0043 New Member

    My father, Richard C Cole was the designer of both the Thunderbird & Woodson Catheral hull designs. Woody Woodson and my father started Thunderbird boats back in 1956. After they went bankrupt in 1960, Woody went out on his own and started Woodson boats in Miami Fl. He later moved to Barbados where he continued to build his boats but died of lung cancer while there.

    Michael R Cole
    mrc0043@comcast.net
    305-308-7008 cell
     
  6. Mr Efficiency
    Joined: Oct 2010
    Posts: 9,896
    Likes: 880, Points: 113, Legacy Rep: 702
    Location: Australia

    Mr Efficiency Senior Member

    Interesting, Michael, your father was an innovator, his "Airslot" design was the forerunner of later developments with tri-hulls.

    p2.gif
     
  7. mrc0043
    Joined: Dec 2013
    Posts: 3
    Likes: 0, Points: 1, Legacy Rep: 10
    Location: South Florida

    mrc0043 New Member

    Dad was very intelligent and never really followed anyone. He always lead with innovative ideas- like the Airslot which was a much improved Cathedral design which dad invented for Thunderbird in 1958. But dad did a lot more. He designed the original Nova which was later sold and produced by Wellcraft Marine. It was originally designed for Donzi. And later dad designed the first walkaround which was later copied by almost every boat company. The Airslot was also the first step type design before anyone had done that with a modern recreational boat.
     
  8. mrc0043
    Joined: Dec 2013
    Posts: 3
    Likes: 0, Points: 1, Legacy Rep: 10
    Location: South Florida

    mrc0043 New Member


    BTW. The grey haired male driving the Vagabond model boat is Woody Woodson.
     
  9. Michael Heary
    Joined: Jun 2017
    Posts: 6
    Likes: 0, Points: 1
    Location: Ft lauderdale

    Michael Heary Junior Member

    View attachment 135820 IMG_1600.PNG IMG_1601.PNG IMG_1602.PNG IMG_1603.PNG IMG_1604.PNG IMG_1605.PNG IMG_1606.PNG IMG_1607.PNG IMG_1610.PNG IMG_1611.PNG I've been working on my Woodson! Hello everybody. In my previous post I mentioned the floor was no good on my 15 foot dual cathedral Woodson. My wife and I have been cruising on the rivers around Fort Lauderdale having a great time until her seatpost pedestal came loose from the floor. We made the best of the trip I had to fix the floor here are some photos of my restoration . One thing I was wondering what size is the original motor that came on the 15 foot duel cathedral hall . The 35 hp Johnson I have runs great beautiful motor. Runs like a sewing machine. I need more power I'm thinking at least a 60 hp. One last cool thing. I've had A guy approach me at the gas station while putting gas in the boat and tell me that his father had a Woodson hadn't seen one in years. I've had people at the boat launch approach me and say that's a great old boat you got there. She definitely is a cool 51-year-old boat. In my process of removing the floor I removed a lot of weight. There was a layer of carpet a layer of water soaked rotting plywood then a layer of fiberglass (original floor) then all the rotten plywood that was underneath the original floor absolutely soaked falling into my bilge blocking all my drain holes holding water. Our fastest speed with just my wife and I was 17 miles an hour. We went out with some friends two additional people in the boats cut the speed by half our top 9 miles an hour. That show me how much weight was a factor in speed. Thanks for reading my rant. I would like to hear some up dates from some of you guys on your boats.
     
  10. cryan
    Joined: Jul 2017
    Posts: 2
    Likes: 0, Points: 1
    Location: Cape Cod

    cryan New Member

    Nice - your new floor is looking good there Michael! Nice paint too.

    As for your question what was the original size of motor...I think they had a few options (I know they configured some as inboards even). I believe mine was sold with a 50HP OB, and that's what it had when I got her.

    But I just recently upgraded to a 70HP (pic below). The 50hp wasn't pushing her well enough with 4 people, gas, battery, full cooler and bags.

    She flies now with the 70HP - I clocked 32 knots the other day alone (37mph) and 27 knots (31 mph) with 3 people and some gear. I wouldn't want anymore power on this boat. Also, the extra weight on transom does make the stern ride a little bit lower in the water - but the upper transom drain hole is still well above the water line. Still safe for small surf, lake or inshore fishing.

    I'll probably have to redo my floor too at some point soon too. I think she's retaining some water there and like you say some of the drainage holes underneath may not be flowing well. bluebird_woodson_dual_cathedral_70hp.jpg
     
  11. BMcF
    Joined: Mar 2007
    Posts: 1,038
    Likes: 66, Points: 48, Legacy Rep: 361
    Location: Maryland

    BMcF Senior Member

    I've got a 150 Evindrude V-6 on the stern of one of my two 18' Woodsons. Needless to say, she planes out mighty quick. ;-)
     
  12. Mike Wohlwend
    Joined: Jun 2020
    Posts: 7
    Likes: 1, Points: 3
    Location: Carrollton, OH

    Mike Wohlwend Junior Member

    I know this is an old post, but it's worth a shot.

    Does anyone know the value of a 68 Dual Cathedral 15? I found one locally and it hasn't been ran since 92. Always garage kept, but the interior needs redone. The hull looks to be in great shape. It has the original 60hp motor with titles for it, the boat and trailer.
     
  13. bajansailor
    Joined: Oct 2007
    Posts: 1,931
    Likes: 630, Points: 113, Legacy Rep: 37
    Location: Barbados

    bajansailor Marine Surveyor

    Welcome to the Forum Mike.
    Is this Woodson 'officially' for sale, or are you just looking to make an offer on it?
    If it is for sale, how much are they asking for it?
    It's value is basically what somebody is prepared to pay for it.
    If the engine has not been run for almost 20 years, it will probably need some attention......
     
  14. BMcF
    Joined: Mar 2007
    Posts: 1,038
    Likes: 66, Points: 48, Legacy Rep: 361
    Location: Maryland

    BMcF Senior Member

    Hi Mike. I've never seen a Woodson bring much money. They are very appreciated by people like me who run them in often rough conditions.....but frankly, the hulls can be found literally "free for the taking". I got one of my 18s free and the other one I got as a swap, with running 115HP Johnson and on a trailer, in trade for a rather tired Mariner 175HP outboard.

    Let's face it...not the prettiest boat hull you'll find. But in the 40 years I've been running mine, I've never seen another design of similar size and HP that is more sea capable. My Donzi can match it...but with a LOT more installed HP....

    I should clarify the seakeeping...I'm referring to the aft center console version. The forward control boats will beat up the driver in rougher seas.

    One of mine lives on a lift...always ready to go.
     

    Attached Files:

    bajansailor likes this.

  15. Mike Wohlwend
    Joined: Jun 2020
    Posts: 7
    Likes: 1, Points: 3
    Location: Carrollton, OH

    Mike Wohlwend Junior Member

    It's officially for sale. Asking $1200
     
Loading...
Forum posts represent the experience, opinion, and view of individual users. Boat Design Net does not necessarily endorse nor share the view of each individual post.
When making potentially dangerous or financial decisions, always employ and consult appropriate professionals. Your circumstances or experience may be different.