Square rig variation

Discussion in 'Sailboats' started by Autodafe, Nov 5, 2009.

  1. brian eiland
    Joined: Jun 2002
    Posts: 4,962
    Likes: 185, Points: 73, Legacy Rep: 1903
    Location: St Augustine Fl, Thailand

    brian eiland Senior Member

    I'm going to look for those old sketches later today and get them posted.
     
  2. brian eiland
    Joined: Jun 2002
    Posts: 4,962
    Likes: 185, Points: 73, Legacy Rep: 1903
    Location: St Augustine Fl, Thailand

    brian eiland Senior Member

    Model Proa with Dynarig

    I recall seeing those videos as well, but I can't find them now.

    Timothy, and/or others. Do you have some reference links??
     
  3. Timothy
    Joined: Oct 2004
    Posts: 307
    Likes: 15, Points: 18, Legacy Rep: 202
    Location: canada

    Timothy Senior Member

    I can't find the original vids but some more have been posted on you tube since. It seems the designer is still toying with the idea. Try this https://www.youtube.com/watch?v=UNSNPAhuidk He has some other ones as well.
     
  4. sharpii2
    Joined: May 2004
    Posts: 2,044
    Likes: 204, Points: 63, Legacy Rep: 611
    Location: Michigan, USA

    sharpii2 Senior Member

    The biggest advantage I see with the Dynarig is the curved yard.

    It allows the sail itself to be entirely flat cut.

    Being flat cut makes it easier to furl.

    Furling it into the mast complicates the mast structure, as the mast structure has to be of a channel section to make this so. And this channel section must also be able to withstand a considerable amount of torsion.

    So here's my idea. Why not furl the sail into the yard instead of the mast.

    To do this, an ancient technology could be brought back. This would be brailling.

    The curved yards could be of channel section, with the open end facing down, and the sails could brailled up into it.

    This would free the mast to be at least a box section, which would be far easier to engineer for torsion and bending loads.

    A further simplification would be use the largest (longest) Yard to turn the rig, instead of turning the mast at its base. This would require a pair of Braces for each Mast. It would also require the sail above that yard to have an open foot, for the brace lines of the mast ahead to reach that mast. Such could reduce the torsion loads on each mast considerably.
     
  5. brian eiland
    Joined: Jun 2002
    Posts: 4,962
    Likes: 185, Points: 73, Legacy Rep: 1903
    Location: St Augustine Fl, Thailand

    brian eiland Senior Member

    Flexable Airfoil for Both Tacks

    OK, I found a box with some old material that I had laid aside to submit to this discussion, and never did.

    So the first such item is a US patent I ran across a number of years ago that looked quite interesting.
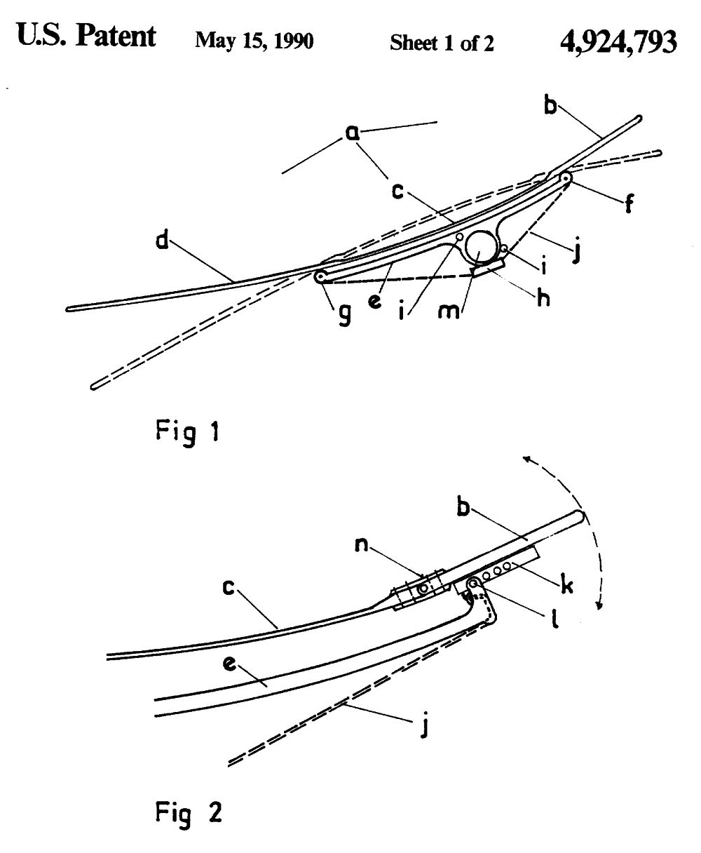
    "Standoff Batten Rig for Flexible Airfoil, Conformation on Both Tacks."
    Patent #4,924,793
    https://www.google.com/patents/US4924793

    The overall camber can be varied, as well as the leading and trailing foils. It might be said that it creates a new rig which imitates a fixed solid surfaced wing with leading edge flaps.
     

    Attached Files:

    Last edited: May 30, 2016
  6. brian eiland
    Joined: Jun 2002
    Posts: 4,962
    Likes: 185, Points: 73, Legacy Rep: 1903
    Location: St Augustine Fl, Thailand

    brian eiland Senior Member

    Aw yes, and then I found this one remaining link to some of his videos,...
    ...a youtube clip of a model proa with a Dynarig type sail on it.
    https://www.youtube.com/watch?v=8NO385N9sqU


    How about scaling up this 'fenced yard' idea for a simplified Dynarig that would allow for hoisting and lowering the sail area (and yards) for various wind strengths?
     
  7. brian eiland
    Joined: Jun 2002
    Posts: 4,962
    Likes: 185, Points: 73, Legacy Rep: 1903
    Location: St Augustine Fl, Thailand

    brian eiland Senior Member

    old AYRS idea

    I was just looking today for some original photos and text pertaining to some inspiration I originally had for my mast-aft rig design. It had appeared in a 1956 issue of AYRS (Amateur Yacht Research Society).

    In that same issue I ran across this square rig idea. As I look at it from a number of different aspects, I think I see some original thinking,....some alternative possibilities :?:

    Hopefully you will be able to read it as I tried excerpting a single page from a PDF document.
    Square Rig Sail image, AYRS page w illustration.jpg
     

    Attached Files:

  8. sharpii2
    Joined: May 2004
    Posts: 2,044
    Likes: 204, Points: 63, Legacy Rep: 611
    Location: Michigan, USA

    sharpii2 Senior Member

    This rig, IMHO, is too complicated and too stressed to work well.

    Apparently, the battens, or boomlets, if you will, are intended to ride up and down a wire, which itself attaches to another boom like structure, which crosses the mast, then has another wire running up from its aft end to the top of the mast, to counter act the one in front.

    Presumably, the boom-like structure attaches to the mas, with a high load bearing pivot point.

    What is likely to happen here is, when the sail fills, the boomlets will all pull on the luff wire, putting great tension on it. This load will be transferred to the pivot point of the boom-like structure, then to its aft wire. This will cause considerable bending moments on the boom-like structure, as well as considerable extra compression loads on the mast.

    I see great difficulty in holding a reasonable shape to this sail in any kind of wind.

    Add to that that it swaps luffs at every tack, means that it must have a shallow (in section) leading edge, which further reduces its likely efficiency.

    Phil Bolger once proposed a rig quite similar to this, for a proa design of his. The sail was only held up by its halyard and the Boom wasn't intended to even touch the mast. It had a bunch of battens which gave it the half ellipse plan form. The interesting part was the boom was connected to the deck with two adjustable tethers, spaced maybe 15% of the Boom length from the sail's plan center line, on the Boom. Together they formed a "V" with the apex near the mast partners.

    When the proa shunted, the forward tether was tightened and the aft one loosened, so the new front end of the boom tilted down toward the deck and the aft one tilted upward. This brought the Center of Area aft each time, while putting more tension on the new luff than on the new leach, presumably making the sail perform more like a fore and aft one.

    I don't know if this rig was ever tried, but, in my mind's eye, I can see how it might work. It has far fewer parts and far fewer likely loads than the IYRS rig shown here.

    Except on a proa, I just don't see how an athwart rig can be an improvement on a fore and aft one, though it certainly may have its place as a specialized down wind sail.

    I once though of adding one to my Siren 17, which I was able to make self steer at any point of sail, from a reach to a beat. I was not able to get it to self steer down wind.

    I came up with an idea for a remedy in the form of a "cross-jack" sail.

    A "cross-jack" is a square sail with its lower corners missing, so all it needs is a halyard, a pair of braces, and an attachment point for the downward pointing apex. The idea was to make the yard equal to the Beam of the boat, and the sail tall enough, so s the yard could be hoisted, with its own halyard, just above the fore triangle. It would be set in addition to the jib, not instead of it.

    I then though of not even bothering to give it braces, allowing the yard to pivot freely. The idea was that once the boat started rounding up, the yard would pivot in such a way as to give maximum corrective moment, to force the bow back down wind.

    I never got a chance to try this idea, but it still seems enticing to this day.

    Traditionally, the great advantage of the athwart rig is that one side of the sail surface was always upwind. This is probably the reason it was used on huge sailing vessels well into the 20th century.

    Because of this property, it was possible to divide the rig into to separate sails, one on top of the other, on the same mast. This way crews could go aloft and safely (relatively speaking) furl these individual sails.

    This could not be done on a fore-and-aft rig, as in the event of a jibe, the furling crew could end up on the down wind side of the sail, a very dangerous place to be.

    For this reason, large fore-and-aft rigged ships had a single sail on each mast, as well as maybe a relatively small top sail. Most of the sail had to come down as a single unit, so it was enormously heavy.

    To compensate for this, these fore-and-aft rigged vessels usually had more masts and were comparatively under rigged. One had as many as seven masts, but most had four or five, for the larger vessels.

    I think it is important to remember these historic facts when considering this rig type for a general purpose sail. The Maltese Falcon is but a modern version of this rig, used much for the same reason it was used on larger ships in the past: to break up the sail area on each mast into smaller furl-able sails, on fixed spars. Except, this time these sails are furled by machines, rather than human crews.

    Though it is true that the athwart (square) rig is best for dead down wind sailing, the fore-and-aft rig does fine with down wind tacks.
     
  9. brian eiland
    Joined: Jun 2002
    Posts: 4,962
    Likes: 185, Points: 73, Legacy Rep: 1903
    Location: St Augustine Fl, Thailand

    brian eiland Senior Member

    Thanks for that well written, considerable reply. I had not looked at it with that much detail, but rather just wanted to post it on this discussion before I forgot about it (memory lost thing...ha..ha)

    Agreed with the shape thing, particularly in higher winds.

    But don't agree with the 'scalloped' leading edges of those relatively small panels being that inefficient. I think Maltese Falcon has proven this.

    I'm not familiar with that one,...will have to look it up sometime soon.


    Don't fully understand why you are referring to it as an 'athwart rig' as it may no longer be restrained by the old limitations of the square riggers. It can operate in a fore-aft manner just as Maltese Falcon does.



    As noted in other portions of this subject thread there is hope of being able to break the sail area down into 'panels' that could be reefed down the mast rather than individually reefed as with MF.
     
  10. sharpii2
    Joined: May 2004
    Posts: 2,044
    Likes: 204, Points: 63, Legacy Rep: 611
    Location: Michigan, USA

    sharpii2 Senior Member

    This is an interesting idea as you would get the top hamper of the yards down, not to mention their windage.
     
  11. sharpii2
    Joined: May 2004
    Posts: 2,044
    Likes: 204, Points: 63, Legacy Rep: 611
    Location: Michigan, USA

    sharpii2 Senior Member

    Single Square sail proportions

    Way back in the ‘00’s, when the pdracer fleet was getting started, someone suggested a square rig version. I guess it kind of makes sense, a square sail for a square boat.

    I thought about it, then drew one rigged as a 15th century carrack. I drew it up with my CAD program. It wasn’t quite a carrack because it didn’t have a fore mast, and it did have a boom under the main sail. Other than that, it looked the part. It had a lateen sail on a short mizzen, which also had a boom, and a sprit sail, hanging from a bowsprit. The total SA was in the mid 60’s in sf. I called it ‘Nine Sheets’, as that was how many lines one was going to have to use to control its three sails. I can imagine someone trying to sail it alone, trying to make windward progress. It would be a real handful. And a real achievement if he/she pulled it off.

    But I lost that file.

    Now I’ve been thinking of the square sail again, particularly the single sail version, which ruled the seas for at least three millennium.

    One question that I think is worth asking is why was the single square sail hung onto for so long? Was it simply because people at the time didn’t know better? I hardly think so. Fore and aft rigs have been available since at least the third century.

    More likely, the square sail kept its dominance because sailing down wind well was more valued than sailing upwind. The square sail is very stable sailing down wind. This is because it has essentially two luffs. If the boat starts to round up to port, the port luff angles into the wind slightly. When this happens, the Center of Effort (CE) of the sail shifts slightly to port, adding an automatic course correction.

    When a fore and aft sail is headed down wind, its Leach becomes its Luff, and its angled into the wind, moving the CE of that sail aft and further to the lee, which makes the boat want to round up. To correct for this, the rudder has to add an opposite impute. And everything is good until something upsets this fine balance. Then the boat either jibes or rounds up. If most of the voyages could be arranged to be predominantly down wind, the good down wind behavior of the square sail would be worth putting up with its not so great up wind abilities. How they got these 100 ton or more boats into an upwind harbor is anyone’s guess. My guess is they anchored outside and waited for the tide to carry them in. In short, the square rig may be the best to sail around the world, but the fore-and-aft rig may be best to sail about the coast.

    I started thinking about how I might rig a boat with a single square sail. What would be the limits? Would there be a limit on how tall it is? Would there be one on how wide it is? The answer of course is yes to both.

    Yes to the first, because the long yard is going to weigh something, and all that weight is going to be where it hurts the most, right at the top of the rig. And yes to the second for width is governed by the ability to sheet it to the hull. If the sail is too wide, it is impossible to get good sheeting angles even for downwind sailing, not to mention upwind.

    I looked through a book of mine called SAILING SHIPS, written and lavishly illustrated by Bjorn Landstrom. In it are examples of just about everything from the first Egyptian river boats to a seven mast schooner. I bought this book when I was a teenager and have held on to it ever since.

    Looking at the single square sail rigged ships, from about the time of mosses to about the time of Chaucer, I noticed three things:
    1.) the boom was eliminated early on by the Egyptians (at about the time of Moses) and it seems to have never returned,
    2.) sails on narrower boats tended to be wider than they were tall, where sails on wider vessels tended about as tall as they were wide, to a little bit taller, and
    3.) the yard was never as long as the boat.

    For the first, I reasoned, without a boom, the sail might actually be easier to manage, as there would be no heavy spar to dip into the sea in a roll. Also, the weight of the Boom would be eliminated.

    For the second, the narrower boat would have less initial stability, so the yard height (and mast height) became primary concerns, but the sail could be wider because there would be decent sheet angles.

    For the third, I reasoned that if the yard was too long, the clew/tack beneath it would be too far forward or aft for good sheeting. Though sailing up wind is likely to be relatively new thing (probably dating back only to the late Roman period), sailing across the wind could well date back to before even Moses. So the sails (when Boomless), back even that far, almost certainly had double sheets on their clew/tacks, one for near the Bow and one for near the stern.

    So, to satisfy my own curiosity, I came up with a few formulae to proportion a square sail. I used them on three very differently proportioned boat designs of mine. One is very wide, another is considerably narrower, and the third is very narrow.

    The formulae are below. Drawings of the three sails are in the attachment.
    ------------------------------------------------------
    SQUARE SAIL FORMULAE (for a single sail)

    Sail Width =

    Beam* + (Length/3) or 3 Beams, which ever is less.

    Sail Height =

    2Beam

    Nominal Sail Area =

    Sail Width x Sail Height.

    Actual Sail Area will be up to 9% less, depending on design factors such as whether or not it has a Boom. These formulas do not take Displacement into account, but produce the largest single Square Sail that is likely to be safely managed. Sail can be scaled down if need be.

    Yard Length =

    Sail Width x 1.05

    Mast Length =

    Sail Height + 0.15 Sail Width + Burry to highest Gunwale, or House Height.

    -------------------------------------------------
    ‘Beam*’ is to be taken as no greater than Length/2, if it is wider.

    ‘Length’ is to be taken at its greatest point, usually at the deck level or at the top of the Gunwales.
    ---------------------------------------------------
    EXAMPLE 1: HAIKU (a pdracer)

    Length = 8.0 ft
    Beam = 4.0 ft
    Bury to Gunwale Ht = 1.5 ft

    Sail Width =

    (8 ft/3) + 4 ft = 6.67 ft yes
    or
    3 x 4 ft = 12.0 ft no



    Sail Height =

    2 x 4 ft = 8.0 ft

    Nominal Sail Area =

    6.67 ft x 8 ft = 53.4 sf
    Actual Area closer to 49 sf

    Yard Length =

    6.67 x 1.05 = 7.0 ft

    Mast Length =

    8 ft + (6.67 x 0.15) + 1.5 = 10.5 ft
    ---------------------------------------
    EXAMPLE 2: ALANA (a 10 ft joeboat)

    Length = 10.00 ft
    Beam = 3.00 ft
    Burry to Gunwale = 1.25 ft

    Sail Width =

    (10 ft/3) + 3 ft = 6.33 ft yes
    Or
    3 x 3.0 ft = 9.00 ft no

    Sail Height =

    2 x 3.0 ft = 6.0 ft

    Nominal Sail Area =

    6.33 ft x 6.00 ft = 38 sf
    Actual Sail Area closer to 34 sf

    Yard Length =

    6.33 ft x 1.05 = 6.65 ft

    Mast Length =

    6.00 ft + (6.33 ft x 0.15) + 1.25 ft = 8.2 ft
    --------------------------------------------
    EXAMPLE 3: (a 2ft x 15 ft kayak)

    Sail Width =

    2 ft + (15 ft/3 = 7 ft no
    or
    3 x 2 ft = 6 ft yes

    Sail Height =

    2 x 2 ft = 4 ft

    Sail Area (Boom less)

    6 ft x 4 ft x 0.91 = 21.8 sf

    Yard Length =

    1.05 x 6 = 6.33 ft

    Mast Length =

    1.5 ft + (6.33 x 0.15) + 4 ft = 6.5 ft
    --------------------------------------
    The single square sails, indicated by these formulae, produced S/D’s ranging from the high single digits to the mid teens, with the pdracer getting the highest (at 14.9) and the kayak getting the lowest (at 8.0).
     

    Attached Files:


  12. brian eiland
    Joined: Jun 2002
    Posts: 4,962
    Likes: 185, Points: 73, Legacy Rep: 1903
    Location: St Augustine Fl, Thailand

    brian eiland Senior Member

    Rather 'heavy duty version', but what about this?
    [​IMG]

    Sorry I do not have more time for this subject thread right at this monment.
     
Loading...
Forum posts represent the experience, opinion, and view of individual users. Boat Design Net does not necessarily endorse nor share the view of each individual post.
When making potentially dangerous or financial decisions, always employ and consult appropriate professionals. Your circumstances or experience may be different.